背景
带有高速缓存的CPU执行计算的流程
- 程序以及数据被加载到主内存
- 指令和数据被加载到CPU的高速缓存
- CPU执行指令,把结果写到高速缓存
- 高速缓存中的数据写回主内存

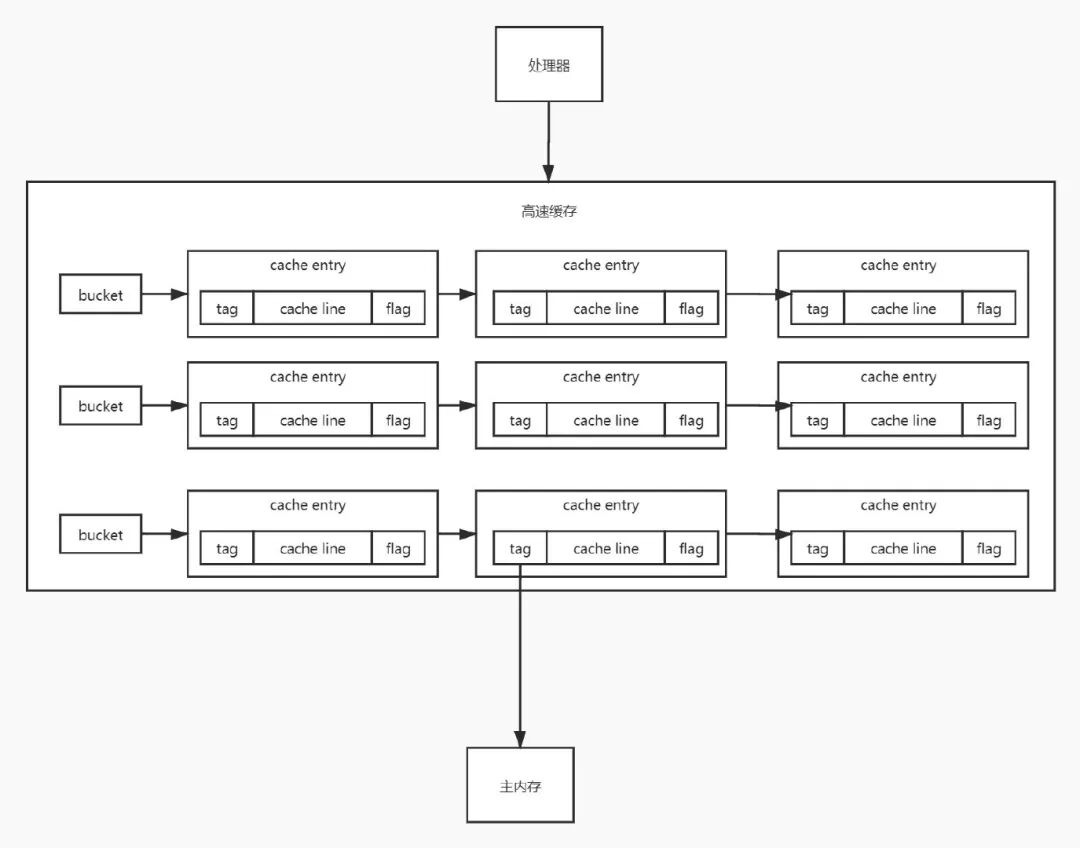
高速缓存的数据结构

高速缓存的底层数据结构其实是一个拉链散列表的结构,就是有很多的bucket,每个bucket挂了很多的cache entry,每个 cache entry 由三个部分组成:tag 、 cache line 、 flag
- cache line :缓存的数据,可以包含多个变量的值
- tag :指向了这个缓存数据在主内存的数据的地址
- flag :标识了缓存行的状态,具体状态划分见下边MESI协议
怎么在高速缓存中定位到这个变量呢?
在处理器读写高速缓存的时候,实际上会根据变量名执行一个内存地址解码的操作,解析出来三个东西。index , tag 和 offerset 。
- index :用于定位到拉链散列表中的某个
bucket - tag :用于定位
cache entry - offerset :用于定位一个变量在
cache line中的位置
由于CPU的运算速度超越了1级缓存的数据I\O能力,CPU厂商引入了多级的缓存结构。

多核CPU的情况下有多个一级缓存,如何保证缓存内部数据的一致,不让系统数据混乱。
问题
每个核都有自己私有的 L1,、L2 缓存。那么多线程编程时, 另外一个核的线程想要访问当前核内 L1、L2 缓存行的数据, 该怎么办呢?
有人说可以通过第 2 个核直接访问第 1 个核的缓存行,这是当然是可行的,但这种方法不够快。跨核访问需要通过 Memory Controller(内存控制器,是计算机系统内部控制内存并且通过内存控制器使内存与 CPU 之间交换数据的重要组成部分),典型的情况是第 2 个核经常访问第 1 个核的这条数据,那么每次都有跨核的消耗。更糟的情况是,有可能第 2 个核与第 1 个核不在一个插槽内,况且 Memory Controller 的总线带宽是有限的,扛不住这么多数据传输。所以,CPU 设计者们更偏向于另一种办法:如果第 2 个核需要这份数据,由第 1 个核直接把数据内容发过去,数据只需要传一次。
那么什么时候会发生缓存行的传输呢?答案很简单:当一个核需要读取另外一个核的脏缓存行时发生。但是前者怎么判断后者的缓存行已经被弄脏(写)了呢?这就需要了解MESI 协议了。
MESI
“
MESI协议是一个基于失效的缓存一致性协议,是支持写回(write-back)缓存的最常用协议。也称作伊利诺伊协议 (Illinois protocol,因为是在伊利诺伊大学厄巴纳-香槟分校被发明的[1])。与写穿(write through)缓存相比,回写缓冲能节约大量带宽。总是有“脏”(dirty)状态表示缓存中的数据与主存中不同。MESI协议要求在缓存不命中(miss)且数据块在另一个缓存时,允许缓存到缓存的数据复制。与MSI协议相比,MESI协议减少了主存的事务数量。这极大改善了性能。[2]
”
MESI协议缓存状态
MESI 是指4种状态的首字母。每个Cache line有4个状态,可用2个bit表示,它们分别是:
| 状态 | 描述 |
|---|---|
| M 修改 (Modified) | 该Cache line有效,数据被修改了,和内存中的数据不一致,数据只存在于本Cache中。 |
| E 独享、互斥 (Exclusive) | 该Cache line有效,缓存行内容和内存中的一样,而且其它处理器都没有这行数据; |
| S 共享 (Shared) | 该Cache line有效,缓存行内容和内存中的一样, 有可能其它处理器也存在此缓存行的拷贝 |
| I 无效 (Invalid) | 该Cache line无效。 |
这四个状态是如何转换的?
MESI状态转换
初始:一开始时,缓存行没有加载任何数据,所以它处于 I 状态。
本地写(Local Write):如果本地处理器写数据至处于 I 状态的缓存行,则缓存行的状态变成 M。
本地读(Local Read):如果本地处理器读取处于 I 状态的缓存行,很明显此缓存没有数据给它。此时分两种情况:
(1) 其它处理器的缓存里也没有此行数据,则从内存加载数据到此缓存行后,再将它设成 E 状态,表示只有我一家有这条数据,其它处理器都没有;
(2) 其它处理器的缓存有此行数据,则将此缓存行的状态设为 S 状态。(备注:如果处于M状态的缓存行,再由本地处理器写入/读出,状态是不会改变的)
远程读(Remote Read):假设我们有两个处理器 c1 和 c2,如果 c2 需要读另外一个处理器 c1 的缓存行内容,c1 需要把它缓存行的内容通过内存控制器 (Memory Controller) 发送给 c2,c2 接到后将相应的缓存行状态设为 S。在设置之前,内存也得从总线上得到这份数据并保存。
远程写(Remote Write):其实确切地说不是远程写,而是 c2 得到 c1 的数据后,不是为了读,而是为了写。也算是本地写,只是 c1 也拥有这份数据的拷贝,这该怎么办呢?c2 将发出一个
RFO(Request For Owner) 请求,它需要拥有这行数据的权限,其它处理器的相应缓存行设为 I,除了它自已,谁不能动这行数据。这保证了数据的安全,同时处理RFO请求以及设置I的过程将给写操作带来很大的性能消耗。

cache line
缓存行通常是 64 字节(译注:本文基于 64 字节,其他长度的如 32 字节等不是本文讨论的重点),并且它有效地引用主内存中的一块地址。
一个 Java 的 long 类型是 8 字节,因此在一个缓存行中可以存 8 个 long 类型的变量。所以,如果你访问一个 long 数组,当数组中的一个值被加载到缓存中,它会额外加载另外 7 个,以致你能非常快地遍历这个数组。事实上,你可以非常快速的遍历在连续的内存块中分配的任意数据结构。而如果你在数据结构中的项在内存中不是彼此相邻的(如链表),你将得不到免费缓存加载所带来的优势,并且在这些数据结构中的每一个项都可能会出现缓存未命中。
伪共享(False Sharing)
如果存在这样的场景,有多个线程操作不同的成员变量,但是相同的缓存行,这个时候会发生什么?

上图中,一个运行在处理器 core1上的线程想要更新变量 X 的值,同时另外一个运行在处理器 core2 上的线程想要更新变量 Y 的值。
但是,这两个频繁改动的变量都处于同一条缓存行。两个线程就会轮番发送 RFO 消息,占得此缓存行的拥有权。当 core1 取得了拥有权开始更新 X,则 core2 对应的缓存行需要设为 I 状态。当 core2 取得了拥有权开始更新 Y,则 core1 对应的缓存行需要设为 I 状态(失效态)。
轮番夺取拥有权不但带来大量的 RFO 消息,而且如果某个线程需要读此行数据时,L1 和 L2 缓存上都是失效数据,只有 L3 缓存上是同步好的数据。从前一篇我们知道,读 L3 的数据非常影响性能。更坏的情况是跨槽读取,L3 都要 miss,只能从内存上加载。
表面上 X 和 Y 都是被独立线程操作的,而且两操作之间也没有任何关系。只不过它们共享了一个缓存行,但所有竞争冲突都是来源于共享。
如何避免伪共享?
“
其中一个解决思路,就是让不同线程操作的对象处于不同的缓存行即可。
”
那么该如何做到呢?那就是缓存行填充(Padding) 。
一条缓存行有 64 字节,而 Java 程序的对象头对象头(mark word)固定占 8 字节(32位系统)或 12 字节( 64 位系统默认开启压缩, 不开压缩为 16 字节),所以我们只需要填 6 个无用的长整型补上6*8=48字节,让不同的 对象处于不同的缓存行,就避免了伪共享( 64 位系统超过缓存行的 64 字节也无所谓,只要保证不同线程不操作同一缓存行就可以)。
例如:Baidu UID-generator 的作法:
1/*
2 * Copyright (c) 2017 Baidu, Inc. All Rights Reserve.
3 *
4 * Licensed under the Apache License, Version 2.0 (the "License");
5 * you may not use this file except in compliance with the License.
6 * You may obtain a copy of the License at
7 *
8 * http://www.apache.org/licenses/LICENSE-2.0
9 *
10 * Unless required by applicable law or agreed to in writing, software
11 * distributed under the License is distributed on an "AS IS" BASIS,
12 * WITHOUT WARRANTIES OR CONDITIONS OF ANY KIND, either express or implied.
13 * See the License for the specific language governing permissions and
14 * limitations under the License.
15 */
16package com.baidu.fsg.uid.utils;
17
18import java.util.concurrent.atomic.AtomicLong;
19
20/**
21 * 该类表示 用AtomicLong 来进行填充 ,以避免伪共享问题
22 *
23 * CPU cache line 一般为 64 字节,以下是填充后的 cache line 示例:<br>
24 * 64 bytes = 8 bytes (object reference) + 6 * 8 bytes (padded long) + 8 bytes (a long value)
25 *
26 * @author yutianbao
27 */
28public class PaddedAtomicLong extends AtomicLong {
29 private static final long serialVersionUID = -3415778863941386253L;
30
31 /** Padded 6 long (48 bytes) */
32 public volatile long p1, p2, p3, p4, p5, p6 = 7L;
33
34 /**
35 * Constructors from {@link AtomicLong}
36 */
37 public PaddedAtomicLong() {
38 super();
39 }
40
41 public PaddedAtomicLong(long initialValue) {
42 super(initialValue);
43 }
44
45 /**
46 * 为防止清理未使用的填充引用而进行 的 GC 优化
47 */
48 public long sumPaddingToPreventOptimization() {
49 return p1 + p2 + p3 + p4 + p5 + p6;
50 }
51
52}
这里的程序对 32位的没有问题,但64位的填充感觉就不对了
“
在32和64位系统中,冗余变量填充所需的个数不一样。在32位系统中,Cache Line的长度为32字节,Java对象头所占据字节数分别为“Mark Word(4字节)”,“指向类的指针(4字节)”,“数组长度(4字节,只有数组对象才有该部分)”
”
所以 是不是可以用 5个 long 1、1个int 来填充,或者 使用 @contended 注解解决 ?

